Skip to content

Cart

Your cart is empty

Image
Image
Image

Product description

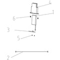
Designed for replacing the battery on your self-powered Domyos Fitness apparatus.

Use your machine without plugging it in.

DOMYOS

Battery.

Sale priceQAR 79.00 79.00ق.ر

Size Guide

MEN SIZE GUIDE 

 

How to measure:

  • Head size: Wrap a tape measure horizontally around your head just below your eyebrows.
  • Chest size: Wrap a tape measure horizontally around the widest part of your chest.
  • Waist size: Wrap a tape measure horizontally around the widest part of your waist.
  • Hand size: Wrap a tape measure horizontally around your hand, starting from your thumb.
  • Shoe size: Place your heels flush against a wall. Place a heavy object (such as a book) against your toes. Measure the distance between the wall and the object.

TOPS (T-SHIRT, PULLOVER, JACKET)
 Size XS S M L XL 2XL 3XL 4XL
Chest (cm) 84-87 88-91 92-95 96-103 104-113 114-123 124-135 136-146

 

BOTTOMS (SHORTS, PANTS, BOARDSHORTS)
 Size XS S M L XL 2XL 3XL
Hips (cm) 84-86  87-91  92-97 98-104 105-111 112-118 119-126

 

SWIMWEAR
 Size S M M-L L L-XL XL XL-2XL 2XL
Hips (cm) 84-87 88-91 92-95 96-103 104-113 114-123 124-135 136-146

 

WOMEN SIZE GUIDE

 

How to measure:

  • Head size: Wrap a tape measure horizontally around your head just above your eyebrows.
  • Chest size: Wrap a tape measure horizontally around the widest part of your chest.
  • Band size: Wrap a tape measure horizontally around your torso just below your breasts.
  • Waist size: Wrap a tape measure horizontally around the widest part of your waist.
  • Hip size: Wrap a tape measure horizontally around the largest part of your hips.
  • Hand size: Wrap a tape measure horizontally around your hand, starting from your thumb.
  • Shoe size: Place your heels flush against a wall. Place a heavy object (such as a book) against your toes. Measure the distance between the wall and the object.
    TOPS (T-SHIRT, PULLOVER, JACKET)
    Size 3XS 2XS XS S M M-L L L-XL XL XL-2XL 2XL
    Chest (cm) 76-79 80-83 84-87 88-91 92-95 96-99 100-103 104-107 108-113    114-118 119-123
     
    BOTTOMS (SHORTS, PANTS)
     Size 3XS 2XS XS S M L XL 2XL 3XL
    Hips (cm) 81-85 86-90 91-96 97-102 103-108 109-114  115-120 121-128 129-136

     

    BRA
    Size 70A 70B 70C 70D 75A 75B 75C 75D 75E 80A 80B 80C 80D 80E 85B 85C 85D 85E
    Chest size (cm) 80-86 80-86 80-86 80-86 86-92 86-92 86-92 86-92 86-92 92-100 92-100 92-100 92-100 92-100 100-106 100-106 100-106 100-106

     

    SWIMWEAR
    Size XS S M M-L L L-XL XL XL-2XL 2XL
    Hips (cm) 90-93 94-97 98-101 102-105 106-109 110-113 114-119 120-125 126-131

     

    KIDS SIZE GUIDE

     

     

    How to measure:

    • Clothing size: Stand upright and place your bare heels flush against a wall. Measure the distance between the bottom of your foot and the top of your head.
    • Head size: Wrap a tape measure horizontally around your head just above your eyebrows.
    • Hand size: Wrap a tape measure horizontally around your hand, starting from your thumb.
    • Shoe size: Place your heels flush against a wall. Place a heavy object (such as a book) against your toes. Measure the distance between the wall and the object.

     

      APPAREL
      Age 3 Months 6-9 Months 9-12 Months 18 Months 2 Years 3 Years 4 Years 5 Years 6 Years 8 Years 10 Years 12 Years 14 Years
      Height (cm) 56-63 64-70 71-76 77-82 83-89 90-97 98-104 105-114 115-124 125-132 133-142 143-152 153-162

       

      SHOES SIZE GUIDE

      MEN SHOES
      US Size 6.5 7 7.5 7.5 8 8.5 9 9.5 9.5 10 10.5 11 11.5 11.5 12 12.5 13
      EU Size 39 39.5 40 40.5 41 41.5 42 42.5 43 43.5 44 44.5 45 45.5 46 46.5 47
      Foot Length (in) 1/2 3/4 10 10 10 1/4 10 1/2 10 1/2 10 1/2 10 3/4 10 3/4 11 11 1/4 11 1/4 11 1/2 11 1/2 11 1/2 11 3/4

       

      WOMEN SHOES
      US Size 4 4.5 5 5.5 5.5 6 6.5 7 7.5 7.5 8 8.5 9 9 9.5 10 10.5
      EU Size 34 34.5 35 35.5 36 36.5 37 37.5 38 38.5 39 39.5 40 40.5 41 41.5 42
      Foot Length (in) 1/2 1/2 1/2 3/4 3/4 9 1/4 1/4 1/2 1/2 1/2 3/4 10 10 10 1/4 10 1/2 10 1/2

       

      KIDS SHOES
      US Size 4.5C 5C 5.5C 6C 7C 7.5C 8.5C 9C 10C 11.5C 12.5C 13C 1 2 2.5 3.5 4 5
      EU Size 20 21 22 23 24 25 26 27 28 29 30 31 32 33 34 35 36 37
      Foot Length (in) 3/4 5 1/4 1/2 3/4 6 1/4 1/2 3/4 7 1/4 1/2 3/4 8 1/4 1/2 3/4 1/4

       

      GEAR SIZE GUIDE

      KIDS BIKES
      Bike size 12" 14" 16" 20" 24"
      Kids height (cm) 75-​90 90-​105 105-120 120-135 135-155
      kids height (ft) 2'5'' - 3' 3' - 3'5'' 3'5'' - 3'11'' 3'11''- 4'5'' 4'5'' - 5'1''

       

      ROAD BIKES
      Bike size 48 (XS) 51 (S) 54 (M) 57 (L) 60 (XL)
      Your height (cm) 135-150 150-165 165-176 176-184 184-195

       

      MOUNTAIN BIKES
      Bike size XS S M L XL
      Your height (cm) 135-150 150-165 165-176 176-184 184-195

       

      SKIS
      Ski size 115-130 125-140 130-145 135-150 135-155 145-165 150-170 155-175 160-180 165-185 170-190 175-195 180-200
      Your height (cm) 132 137 142 147 152 158 163 168 173 178 183 188 193

       

      SNOWBOARDS
      Snowboard size 128-136 133-141 139-147 144-152 149-157 154-162 159-167 160+ 160+ 160+
      Your height (cm) 147 152 158 163 168 173 178 183 188 193
      Your weight (lb) 50-55 55-60 60-65 65-70 70-75 75-80 80-85 85-90 90-95 95-100

       

      ACCESSORIES SIZE GUIDE

      KIDS GLOVES
      Glove size 4 Years 6 Years 8 Years 10 Years 12 Years 14 Years
      Hand size (cm) 13.9-14.9 14.9-15.9 15.9-16.9 16.9-17.8 17.8-18.6 18.6-19.5

       

      ADULT GLOVE
      Glove size XS S M L XL 2XL 3XL
      Hand size (cm) 20.3-20.8 20.9-21.4 21.5-22.1 22.2-22.7 22.8-23.4 23.5-24 24.1-24.7

       

      BOXING GLOVES
      Glove size 6oz 8oz 10oz 12oz 14oz
      Your weight (lb) 77-99 99-143 143-172 172-198 >198
      Color : Unique
      Size: Unique size
      Ref: 8542665
      Only 2 units left

      Size Guide

      MEN SIZE GUIDE 

       

      How to measure:

      • Head size: Wrap a tape measure horizontally around your head just below your eyebrows.
      • Chest size: Wrap a tape measure horizontally around the widest part of your chest.
      • Waist size: Wrap a tape measure horizontally around the widest part of your waist.
      • Hand size: Wrap a tape measure horizontally around your hand, starting from your thumb.
      • Shoe size: Place your heels flush against a wall. Place a heavy object (such as a book) against your toes. Measure the distance between the wall and the object.

      TOPS (T-SHIRT, PULLOVER, JACKET)
       Size XS S M L XL 2XL 3XL 4XL
      Chest (cm) 84-87 88-91 92-95 96-103 104-113 114-123 124-135 136-146

       

      BOTTOMS (SHORTS, PANTS, BOARDSHORTS)
       Size XS S M L XL 2XL 3XL
      Hips (cm) 84-86  87-91  92-97 98-104 105-111 112-118 119-126

       

      SWIMWEAR
       Size S M M-L L L-XL XL XL-2XL 2XL
      Hips (cm) 84-87 88-91 92-95 96-103 104-113 114-123 124-135 136-146

       

      WOMEN SIZE GUIDE

       

      How to measure:

      • Head size: Wrap a tape measure horizontally around your head just above your eyebrows.
      • Chest size: Wrap a tape measure horizontally around the widest part of your chest.
      • Band size: Wrap a tape measure horizontally around your torso just below your breasts.
      • Waist size: Wrap a tape measure horizontally around the widest part of your waist.
      • Hip size: Wrap a tape measure horizontally around the largest part of your hips.
      • Hand size: Wrap a tape measure horizontally around your hand, starting from your thumb.
      • Shoe size: Place your heels flush against a wall. Place a heavy object (such as a book) against your toes. Measure the distance between the wall and the object.
        TOPS (T-SHIRT, PULLOVER, JACKET)
        Size 3XS 2XS XS S M M-L L L-XL XL XL-2XL 2XL
        Chest (cm) 76-79 80-83 84-87 88-91 92-95 96-99 100-103 104-107 108-113    114-118 119-123
         
        BOTTOMS (SHORTS, PANTS)
         Size 3XS 2XS XS S M L XL 2XL 3XL
        Hips (cm) 81-85 86-90 91-96 97-102 103-108 109-114  115-120 121-128 129-136

         

        BRA
        Size 70A 70B 70C 70D 75A 75B 75C 75D 75E 80A 80B 80C 80D 80E 85B 85C 85D 85E
        Chest size (cm) 80-86 80-86 80-86 80-86 86-92 86-92 86-92 86-92 86-92 92-100 92-100 92-100 92-100 92-100 100-106 100-106 100-106 100-106

         

        SWIMWEAR
        Size XS S M M-L L L-XL XL XL-2XL 2XL
        Hips (cm) 90-93 94-97 98-101 102-105 106-109 110-113 114-119 120-125 126-131

         

        KIDS SIZE GUIDE

         

         

        How to measure:

        • Clothing size: Stand upright and place your bare heels flush against a wall. Measure the distance between the bottom of your foot and the top of your head.
        • Head size: Wrap a tape measure horizontally around your head just above your eyebrows.
        • Hand size: Wrap a tape measure horizontally around your hand, starting from your thumb.
        • Shoe size: Place your heels flush against a wall. Place a heavy object (such as a book) against your toes. Measure the distance between the wall and the object.

         

          APPAREL
          Age 3 Months 6-9 Months 9-12 Months 18 Months 2 Years 3 Years 4 Years 5 Years 6 Years 8 Years 10 Years 12 Years 14 Years
          Height (cm) 56-63 64-70 71-76 77-82 83-89 90-97 98-104 105-114 115-124 125-132 133-142 143-152 153-162

           

          SHOES SIZE GUIDE

          MEN SHOES
          US Size 6.5 7 7.5 7.5 8 8.5 9 9.5 9.5 10 10.5 11 11.5 11.5 12 12.5 13
          EU Size 39 39.5 40 40.5 41 41.5 42 42.5 43 43.5 44 44.5 45 45.5 46 46.5 47
          Foot Length (in) 1/2 3/4 10 10 10 1/4 10 1/2 10 1/2 10 1/2 10 3/4 10 3/4 11 11 1/4 11 1/4 11 1/2 11 1/2 11 1/2 11 3/4

           

          WOMEN SHOES
          US Size 4 4.5 5 5.5 5.5 6 6.5 7 7.5 7.5 8 8.5 9 9 9.5 10 10.5
          EU Size 34 34.5 35 35.5 36 36.5 37 37.5 38 38.5 39 39.5 40 40.5 41 41.5 42
          Foot Length (in) 1/2 1/2 1/2 3/4 3/4 9 1/4 1/4 1/2 1/2 1/2 3/4 10 10 10 1/4 10 1/2 10 1/2

           

          KIDS SHOES
          US Size 4.5C 5C 5.5C 6C 7C 7.5C 8.5C 9C 10C 11.5C 12.5C 13C 1 2 2.5 3.5 4 5
          EU Size 20 21 22 23 24 25 26 27 28 29 30 31 32 33 34 35 36 37
          Foot Length (in) 3/4 5 1/4 1/2 3/4 6 1/4 1/2 3/4 7 1/4 1/2 3/4 8 1/4 1/2 3/4 1/4

           

          GEAR SIZE GUIDE

          KIDS BIKES
          Bike size 12" 14" 16" 20" 24"
          Kids height (cm) 75-​90 90-​105 105-120 120-135 135-155
          kids height (ft) 2'5'' - 3' 3' - 3'5'' 3'5'' - 3'11'' 3'11''- 4'5'' 4'5'' - 5'1''

           

          ROAD BIKES
          Bike size 48 (XS) 51 (S) 54 (M) 57 (L) 60 (XL)
          Your height (cm) 135-150 150-165 165-176 176-184 184-195

           

          MOUNTAIN BIKES
          Bike size XS S M L XL
          Your height (cm) 135-150 150-165 165-176 176-184 184-195

           

          SKIS
          Ski size 115-130 125-140 130-145 135-150 135-155 145-165 150-170 155-175 160-180 165-185 170-190 175-195 180-200
          Your height (cm) 132 137 142 147 152 158 163 168 173 178 183 188 193

           

          SNOWBOARDS
          Snowboard size 128-136 133-141 139-147 144-152 149-157 154-162 159-167 160+ 160+ 160+
          Your height (cm) 147 152 158 163 168 173 178 183 188 193
          Your weight (lb) 50-55 55-60 60-65 65-70 70-75 75-80 80-85 85-90 90-95 95-100

           

          ACCESSORIES SIZE GUIDE

          KIDS GLOVES
          Glove size 4 Years 6 Years 8 Years 10 Years 12 Years 14 Years
          Hand size (cm) 13.9-14.9 14.9-15.9 15.9-16.9 16.9-17.8 17.8-18.6 18.6-19.5

           

          ADULT GLOVE
          Glove size XS S M L XL 2XL 3XL
          Hand size (cm) 20.3-20.8 20.9-21.4 21.5-22.1 22.2-22.7 22.8-23.4 23.5-24 24.1-24.7

           

          BOXING GLOVES
          Glove size 6oz 8oz 10oz 12oz 14oz
          Your weight (lb) 77-99 99-143 143-172 172-198 >198

          Size Guide

          MEN SIZE GUIDE 

           

          How to measure:

          • Head size: Wrap a tape measure horizontally around your head just below your eyebrows.
          • Chest size: Wrap a tape measure horizontally around the widest part of your chest.
          • Waist size: Wrap a tape measure horizontally around the widest part of your waist.
          • Hand size: Wrap a tape measure horizontally around your hand, starting from your thumb.
          • Shoe size: Place your heels flush against a wall. Place a heavy object (such as a book) against your toes. Measure the distance between the wall and the object.

          TOPS (T-SHIRT, PULLOVER, JACKET)
           Size XS S M L XL 2XL 3XL 4XL
          Chest (cm) 84-87 88-91 92-95 96-103 104-113 114-123 124-135 136-146

           

          BOTTOMS (SHORTS, PANTS, BOARDSHORTS)
           Size XS S M L XL 2XL 3XL
          Hips (cm) 84-86  87-91  92-97 98-104 105-111 112-118 119-126

           

          SWIMWEAR
           Size S M M-L L L-XL XL XL-2XL 2XL
          Hips (cm) 84-87 88-91 92-95 96-103 104-113 114-123 124-135 136-146

           

          WOMEN SIZE GUIDE

           

          How to measure:

          • Head size: Wrap a tape measure horizontally around your head just above your eyebrows.
          • Chest size: Wrap a tape measure horizontally around the widest part of your chest.
          • Band size: Wrap a tape measure horizontally around your torso just below your breasts.
          • Waist size: Wrap a tape measure horizontally around the widest part of your waist.
          • Hip size: Wrap a tape measure horizontally around the largest part of your hips.
          • Hand size: Wrap a tape measure horizontally around your hand, starting from your thumb.
          • Shoe size: Place your heels flush against a wall. Place a heavy object (such as a book) against your toes. Measure the distance between the wall and the object.
            TOPS (T-SHIRT, PULLOVER, JACKET)
            Size 3XS 2XS XS S M M-L L L-XL XL XL-2XL 2XL
            Chest (cm) 76-79 80-83 84-87 88-91 92-95 96-99 100-103 104-107 108-113    114-118 119-123
             
            BOTTOMS (SHORTS, PANTS)
             Size 3XS 2XS XS S M L XL 2XL 3XL
            Hips (cm) 81-85 86-90 91-96 97-102 103-108 109-114  115-120 121-128 129-136

             

            BRA
            Size 70A 70B 70C 70D 75A 75B 75C 75D 75E 80A 80B 80C 80D 80E 85B 85C 85D 85E
            Chest size (cm) 80-86 80-86 80-86 80-86 86-92 86-92 86-92 86-92 86-92 92-100 92-100 92-100 92-100 92-100 100-106 100-106 100-106 100-106

             

            SWIMWEAR
            Size XS S M M-L L L-XL XL XL-2XL 2XL
            Hips (cm) 90-93 94-97 98-101 102-105 106-109 110-113 114-119 120-125 126-131

             

            KIDS SIZE GUIDE

             

             

            How to measure:

            • Clothing size: Stand upright and place your bare heels flush against a wall. Measure the distance between the bottom of your foot and the top of your head.
            • Head size: Wrap a tape measure horizontally around your head just above your eyebrows.
            • Hand size: Wrap a tape measure horizontally around your hand, starting from your thumb.
            • Shoe size: Place your heels flush against a wall. Place a heavy object (such as a book) against your toes. Measure the distance between the wall and the object.

             

              APPAREL
              Age 3 Months 6-9 Months 9-12 Months 18 Months 2 Years 3 Years 4 Years 5 Years 6 Years 8 Years 10 Years 12 Years 14 Years
              Height (cm) 56-63 64-70 71-76 77-82 83-89 90-97 98-104 105-114 115-124 125-132 133-142 143-152 153-162

               

              SHOES SIZE GUIDE

              MEN SHOES
              US Size 6.5 7 7.5 7.5 8 8.5 9 9.5 9.5 10 10.5 11 11.5 11.5 12 12.5 13
              EU Size 39 39.5 40 40.5 41 41.5 42 42.5 43 43.5 44 44.5 45 45.5 46 46.5 47
              Foot Length (in) 1/2 3/4 10 10 10 1/4 10 1/2 10 1/2 10 1/2 10 3/4 10 3/4 11 11 1/4 11 1/4 11 1/2 11 1/2 11 1/2 11 3/4

               

              WOMEN SHOES
              US Size 4 4.5 5 5.5 5.5 6 6.5 7 7.5 7.5 8 8.5 9 9 9.5 10 10.5
              EU Size 34 34.5 35 35.5 36 36.5 37 37.5 38 38.5 39 39.5 40 40.5 41 41.5 42
              Foot Length (in) 1/2 1/2 1/2 3/4 3/4 9 1/4 1/4 1/2 1/2 1/2 3/4 10 10 10 1/4 10 1/2 10 1/2

               

              KIDS SHOES
              US Size 4.5C 5C 5.5C 6C 7C 7.5C 8.5C 9C 10C 11.5C 12.5C 13C 1 2 2.5 3.5 4 5
              EU Size 20 21 22 23 24 25 26 27 28 29 30 31 32 33 34 35 36 37
              Foot Length (in) 3/4 5 1/4 1/2 3/4 6 1/4 1/2 3/4 7 1/4 1/2 3/4 8 1/4 1/2 3/4 1/4

               

              GEAR SIZE GUIDE

              KIDS BIKES
              Bike size 12" 14" 16" 20" 24"
              Kids height (cm) 75-​90 90-​105 105-120 120-135 135-155
              kids height (ft) 2'5'' - 3' 3' - 3'5'' 3'5'' - 3'11'' 3'11''- 4'5'' 4'5'' - 5'1''

               

              ROAD BIKES
              Bike size 48 (XS) 51 (S) 54 (M) 57 (L) 60 (XL)
              Your height (cm) 135-150 150-165 165-176 176-184 184-195

               

              MOUNTAIN BIKES
              Bike size XS S M L XL
              Your height (cm) 135-150 150-165 165-176 176-184 184-195

               

              SKIS
              Ski size 115-130 125-140 130-145 135-150 135-155 145-165 150-170 155-175 160-180 165-185 170-190 175-195 180-200
              Your height (cm) 132 137 142 147 152 158 163 168 173 178 183 188 193

               

              SNOWBOARDS
              Snowboard size 128-136 133-141 139-147 144-152 149-157 154-162 159-167 160+ 160+ 160+
              Your height (cm) 147 152 158 163 168 173 178 183 188 193
              Your weight (lb) 50-55 55-60 60-65 65-70 70-75 75-80 80-85 85-90 90-95 95-100

               

              ACCESSORIES SIZE GUIDE

              KIDS GLOVES
              Glove size 4 Years 6 Years 8 Years 10 Years 12 Years 14 Years
              Hand size (cm) 13.9-14.9 14.9-15.9 15.9-16.9 16.9-17.8 17.8-18.6 18.6-19.5

               

              ADULT GLOVE
              Glove size XS S M L XL 2XL 3XL
              Hand size (cm) 20.3-20.8 20.9-21.4 21.5-22.1 22.2-22.7 22.8-23.4 23.5-24 24.1-24.7

               

              BOXING GLOVES
              Glove size 6oz 8oz 10oz 12oz 14oz
              Your weight (lb) 77-99 99-143 143-172 172-198 >198

              Product description

              Designed for replacing the battery on your self-powered Domyos Fitness apparatus.

              Use your machine without plugging it in.

              Description

              Designed for replacing the battery on your self-powered Domyos Fitness apparatus.

              Colour

              Black

              Designed for

              FEB 500 SP / Cross Trainer 520 Battery compatible with Cross Trainer 540 only.

              Compatibility

              Exercise bikeEB 900 / FEB 500 / EB520 / EB520 B Cross trainer: EL 520 / EL700 Rowing machine: R500B WOODROWER

              Use your machine without plugging it in.

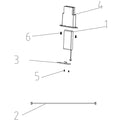
              Designed for replacing the battery on your self-powered Domyos Fitness apparatus.

              Designed for replacing the battery on your self-powered Domyos Fitness apparatus.

              Colour

              Black

              Designed for

              FEB 500 SP / Cross Trainer 520 Battery compatible with Cross Trainer 540 only.

              Compatibility

              Exercise bikeEB 900 / FEB 500 / EB520 / EB520 B Cross trainer: EL 520 / EL700 Rowing machine: R500B WOODROWER

              Use your machine without plugging it in.

              Designed for replacing the battery on your self-powered Domyos Fitness apparatus.

              Carte fidélité

              Please log in to view your member card.

              Carte fidélité

              Please log in to view your member card.